
严肃声明:现在、未来都不会有商业版本,所有代码全部开源!!
「我喜欢写代码,乐此不疲」
「我喜欢做开源,以此为乐」
我 🐶 在上海艰苦奋斗,早中晚在 top3 大厂认真搬砖,夜里为开源做贡献。
如果这个项目让你有所收获,记得 Star 关注哦,这对我是非常不错的鼓励与支持。
🐶 新手必读
- 演示地址【Vue3 + element-plus】:http://dashboard-vue3.yudao.iocoder.cn
- 演示地址【Vue3 + vben(ant-design-vue)】:http://dashboard-vben.yudao.iocoder.cn
- 演示地址【Vue2 + element-ui】:http://dashboard.yudao.iocoder.cn
- 启动文档:https://doc.iocoder.cn/quick-start/
- 视频教程:https://doc.iocoder.cn/video/
🐰 版本说明
版本 | JDK 8 + Spring Boot 2.7 | JDK 17/21 + Spring Boot 3.2 |
---|---|---|
【完整版】ruoyi-vue-pro | master 分支 |
master-jdk17 分支 |
【精简版】yudao-boot-mini | master 分支 |
master-jdk17 分支 |
- 【完整版】:包括系统功能、基础设施、会员中心、数据报表、工作流程、商城系统、微信公众号、CRM、ERP 等功能
- 【精简版】:只包括系统功能、基础设施功能,不包括会员中心、数据报表、工作流程、商城系统、微信公众号、CRM、ERP 等功能
可参考 《迁移文档》 ,只需要 5-10 分钟,即可将【完整版】按需迁移到【精简版】
🐯 平台简介
芋道,以开发者为中心,打造中国第一流的快速开发平台,全部开源,个人与企业可 100% 免费使用。
有任何问题,或者想要的功能,可以在 Issues 中提给艿艿。
😜 给项目点点 Star 吧,这对我们真的很重要!
- Java 后端:
master
分支为 JDK 8 + Spring Boot 2.7,master-jdk17
分支为 JDK 17/21 + Spring Boot 3.2 - 管理后台的电脑端:Vue3 提供
element-plus
、vben(ant-design-vue)
两个版本,Vue2 提供element-ui
版本 - 管理后台的移动端:采用
uni-app
方案,一份代码多终端适配,同时支持 APP、小程序、H5! - 后端采用 Spring Boot 多模块架构、MySQL + MyBatis Plus、Redis + Redisson
- 数据库可使用 MySQL、Oracle、PostgreSQL、SQL Server、MariaDB、国产达梦 DM、TiDB 等
- 消息队列可使用 Event、Redis、RabbitMQ、Kafka、RocketMQ 等
- 权限认证使用 Spring Security & Token & Redis,支持多终端、多种用户的认证系统,支持 SSO 单点登录
- 支持加载动态权限菜单,按钮级别权限控制,Redis 缓存提升性能
- 支持 SaaS 多租户,可自定义每个租户的权限,提供透明化的多租户底层封装
- 工作流使用 Flowable,支持动态表单、在线设计流程、会签 / 或签、多种任务分配方式
- 高效率开发,使用代码生成器可以一键生成 Java、Vue 前后端代码、SQL 脚本、接口文档,支持单表、树表、主子表
- 实时通信,采用 Spring WebSocket 实现,内置 Token 身份校验,支持 WebSocket 集群
- 集成微信小程序、微信公众号、企业微信、钉钉等三方登陆,集成支付宝、微信等支付与退款
- 集成阿里云、腾讯云等短信渠道,集成 MinIO、阿里云、腾讯云、七牛云等云存储服务
- 集成报表设计器、大屏设计器,通过拖拽即可生成酷炫的报表与大屏
🐳 项目关系
三个项目的功能对比,可见社区共同整理的 国产开源项目对比 表格。
后端项目
项目 | Star | 简介 |
---|---|---|
ruoyi-vue-pro | 基于 Spring Boot 多模块架构 | |
yudao-cloud | 基于 Spring Cloud 微服务架构 | |
Spring-Boot-Labs | 系统学习 Spring Boot & Cloud 专栏 |
前端项目
项目 | Star | 简介 |
---|---|---|
yudao-ui-admin-vue3 | 基于 Vue3 + element-plus 实现的管理后台 | |
yudao-ui-admin-vben | 基于 Vue3 + vben(ant-design-vue) 实现的管理后台 | |
yudao-mall-uniapp | 基于 uni-app 实现的商城小程序 | |
yudao-ui-admin-vue2 | 基于 Vue2 + element-ui 实现的管理后台 | |
yudao-ui-admin-uniapp | 基于 Vue2 + element-ui 实现的管理后台 | |
yudao-ui-go-view | 基于 Vue3 + naive-ui 实现的大屏报表 |
😎 开源协议
为什么推荐使用本项目?
① 本项目采用比 Apache 2.0 更宽松的 MIT License 开源协议,个人与企业可 100% 免费使用,不用保留类作者、Copyright 信息。
② 代码全部开源,不会像其他项目一样,只开源部分代码,让你无法了解整个项目的架构设计。国产开源项目对比
③ 代码整洁、架构整洁,遵循《阿里巴巴 Java 开发手册》规范,代码注释详细,113770 行 Java 代码,42462 行代码注释。
🤝 项目外包
我们也是接外包滴,如果你有项目想要外包,可以微信联系【Aix9975】。
团队包含专业的项目经理、架构师、前端工程师、后端工程师、测试工程师、运维工程师,可以提供全流程的外包服务。
项目可以是商城、SCRM 系统、OA 系统、物流系统、ERP 系统、CMS 系统、HIS 系统、支付系统、IM 聊天、微信公众号、微信小程序等等。
🐼 内置功能
系统内置多种多种业务功能,可以用于快速你的业务系统:
- 通用模块(必选):系统功能、基础设施
- 通用模块(可选):工作流程、支付系统、数据报表、会员中心
- 业务系统(按需):ERP 系统、CRM 系统、商城系统、微信公众号、AI 大模型
友情提示:本项目基于 RuoYi-Vue 修改,重构优化后端的代码,美化前端的界面。
- 额外新增的功能,我们使用 🚀 标记。
- 重新实现的功能,我们使用 ⭐️ 标记。
🙂 所有功能,都通过 单元测试 保证高质量。
系统功能
功能 | 描述 | |
---|---|---|
用户管理 | 用户是系统操作者,该功能主要完成系统用户配置 | |
⭐️ | 在线用户 | 当前系统中活跃用户状态监控,支持手动踢下线 |
角色管理 | 角色菜单权限分配、设置角色按机构进行数据范围权限划分 | |
菜单管理 | 配置系统菜单、操作权限、按钮权限标识等,本地缓存提供性能 | |
部门管理 | 配置系统组织机构(公司、部门、小组),树结构展现支持数据权限 | |
岗位管理 | 配置系统用户所属担任职务 | |
🚀 | 租户管理 | 配置系统租户,支持 SaaS 场景下的多租户功能 |
🚀 | 租户套餐 | 配置租户套餐,自定每个租户的菜单、操作、按钮的权限 |
字典管理 | 对系统中经常使用的一些较为固定的数据进行维护 | |
🚀 | 短信管理 | 短信渠道、短息模板、短信日志,对接阿里云、腾讯云等主流短信平台 |
🚀 | 邮件管理 | 邮箱账号、邮件模版、邮件发送日志,支持所有邮件平台 |
🚀 | 站内信 | 系统内的消息通知,提供站内信模版、站内信消息 |
🚀 | 操作日志 | 系统正常操作日志记录和查询,集成 Swagger 生成日志内容 |
⭐️ | 登录日志 | 系统登录日志记录查询,包含登录异常 |
🚀 | 错误码管理 | 系统所有错误码的管理,可在线修改错误提示,无需重启服务 |
通知公告 | 系统通知公告信息发布维护 | |
🚀 | 敏感词 | 配置系统敏感词,支持标签分组 |
🚀 | 应用管理 | 管理 SSO 单点登录的应用,支持多种 OAuth2 授权方式 |
🚀 | 地区管理 | 展示省份、城市、区镇等城市信息,支持 IP 对应城市 |
工作流程
功能 | 描述 | |
---|---|---|
🚀 | 流程模型 | 配置工作流的流程模型,支持 BPMN 和仿钉钉/飞书设计器 |
🚀 | 流程表单 | 拖动表单元素生成相应的工作流表单,覆盖 Element UI 所有的表单组件 |
🚀 | 用户分组 | 自定义用户分组,可用于工作流的审批分组 |
🚀 | 我的流程 | 查看我发起的工作流程,支持新建、取消流程等操作,高亮流程图、审批时间线 |
🚀 | 待办任务 | 查看自己【未】审批的工作任务,支持通过、不通过、转派、委派、退回、加减签等操作 |
🚀 | 已办任务 | 查看自己【已】审批的工作任务,支持流程预测,展示未来审批人信息 |
🚀 | OA 请假 | 作为业务自定义接入工作流的使用示例,只需创建请求对应的工作流程,即可进行审批 |
BPMN 设计器 | 钉钉/飞书设计器 |
---|---|
![]() |
![]() |
支付系统
功能 | 描述 | |
---|---|---|
🚀 | 应用信息 | 配置商户的应用信息,对接支付宝、微信等多个支付渠道 |
🚀 | 支付订单 | 查看用户发起的支付宝、微信等的【支付】订单 |
🚀 | 退款订单 | 查看用户发起的支付宝、微信等的【退款】订单 |
🚀 | 回调通知 | 查看支付回调业务的【支付】【退款】的通知结果 |
🚀 | 接入示例 | 提供接入支付系统的【支付】【退款】的功能实战 |
基础设施
功能 | 描述 | |
---|---|---|
🚀 | 代码生成 | 前后端代码的生成(Java、Vue、SQL、单元测试),支持 CRUD 下载 |
🚀 | 系统接口 | 基于 Swagger 自动生成相关的 RESTful API 接口文档 |
🚀 | 数据库文档 | 基于 Screw 自动生成数据库文档,支持导出 Word、HTML、MD 格式 |
表单构建 | 拖动表单元素生成相应的 HTML 代码,支持导出 JSON、Vue 文件 | |
🚀 | 配置管理 | 对系统动态配置常用参数,支持 SpringBoot 加载 |
⭐️ | 定时任务 | 在线(添加、修改、删除)任务调度包含执行结果日志 |
🚀 | 文件服务 | 支持将文件存储到 S3(MinIO、阿里云、腾讯云、七牛云)、本地、FTP、数据库等 |
🚀 | WebSocket | 提供 WebSocket 接入示例,支持一对一、一对多发送方式 |
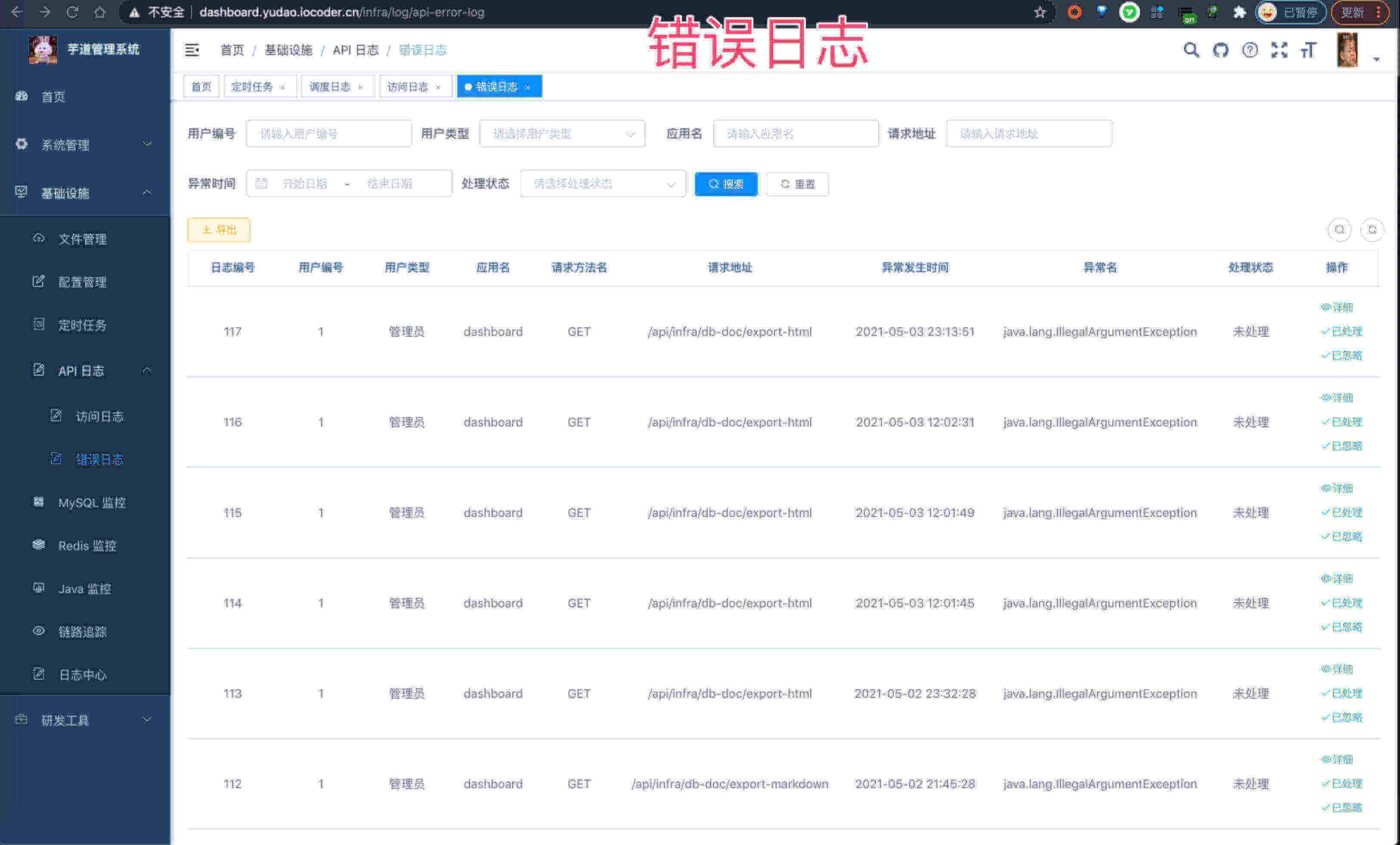
🚀 | API 日志 | 包括 RESTful API 访问日志、异常日志两部分,方便排查 API 相关的问题 |
MySQL 监控 | 监视当前系统数据库连接池状态,可进行分析SQL找出系统性能瓶颈 | |
Redis 监控 | 监控 Redis 数据库的使用情况,使用的 Redis Key 管理 | |
🚀 | 消息队列 | 基于 Redis 实现消息队列,Stream 提供集群消费,Pub/Sub 提供广播消费 |
🚀 | Java 监控 | 基于 Spring Boot Admin 实现 Java 应用的监控 |
🚀 | 链路追踪 | 接入 SkyWalking 组件,实现链路追踪 |
🚀 | 日志中心 | 接入 SkyWalking 组件,实现日志中心 |
🚀 | 服务保障 | 基于 Redis 实现分布式锁、幂等、限流功能,满足高并发场景 |
🚀 | 日志服务 | 轻量级日志中心,查看远程服务器的日志 |
🚀 | 单元测试 | 基于 JUnit + Mockito 实现单元测试,保证功能的正确性、代码的质量等 |
数据报表
功能 | 描述 | |
---|---|---|
🚀 | 报表设计器 | 支持数据报表、图形报表、打印设计等 |
🚀 | 大屏设计器 | 拖拽生成数据大屏,内置几十种图表组件 |
微信公众号
功能 | 描述 | |
---|---|---|
🚀 | 账号管理 | 配置接入的微信公众号,可支持多个公众号 |
🚀 | 数据统计 | 统计公众号的用户增减、累计用户、消息概况、接口分析等数据 |
🚀 | 粉丝管理 | 查看已关注、取关的粉丝列表,可对粉丝进行同步、打标签等操作 |
🚀 | 消息管理 | 查看粉丝发送的消息列表,可主动回复粉丝消息 |
🚀 | 自动回复 | 自动回复粉丝发送的消息,支持关注回复、消息回复、关键字回复 |
🚀 | 标签管理 | 对公众号的标签进行创建、查询、修改、删除等操作 |
🚀 | 菜单管理 | 自定义公众号的菜单,也可以从公众号同步菜单 |
🚀 | 素材管理 | 管理公众号的图片、语音、视频等素材,支持在线播放语音、视频 |
🚀 | 图文草稿箱 | 新增常用的图文素材到草稿箱,可发布到公众号 |
🚀 | 图文发表记录 | 查看已发布成功的图文素材,支持删除操作 |
商城系统
演示地址:https://doc.iocoder.cn/mall-preview/
会员中心
功能 | 描述 | |
---|---|---|
🚀 | 会员管理 | 会员是 C 端的消费者,该功能用于会员的搜索与管理 |
🚀 | 会员标签 | 对会员的标签进行创建、查询、修改、删除等操作 |
🚀 | 会员等级 | 对会员的等级、成长值进行管理,可用于订单折扣等会员权益 |
🚀 | 会员分组 | 对会员进行分组,用于用户画像、内容推送等运营手段 |
🚀 | 积分签到 | 回馈给签到、消费等行为的积分,会员可订单抵现、积分兑换等途径消耗 |
ERP 系统
演示地址:https://doc.iocoder.cn/erp-preview/
CRM 系统
演示地址:https://doc.iocoder.cn/crm-preview/
AI 大模型
演示地址:https://doc.iocoder.cn/ai-preview/
🐨 技术栈
模块
项目 | 说明 |
---|---|
yudao-dependencies |
Maven 依赖版本管理 |
yudao-framework |
Java 框架拓展 |
yudao-server |
管理后台 + 用户 APP 的服务端 |
yudao-module-system |
系统功能的 Module 模块 |
yudao-module-member |
会员中心的 Module 模块 |
yudao-module-infra |
基础设施的 Module 模块 |
yudao-module-bpm |
工作流程的 Module 模块 |
yudao-module-pay |
支付系统的 Module 模块 |
yudao-module-mall |
商城系统的 Module 模块 |
yudao-module-erp |
ERP 系统的 Module 模块 |
yudao-module-crm |
CRM 系统的 Module 模块 |
yudao-module-ai |
AI 大模型的 Module 模块 |
yudao-module-mp |
微信公众号的 Module 模块 |
yudao-module-report |
大屏报表 Module 模块 |
框架
框架 | 说明 | 版本 | 学习指南 |
---|---|---|---|
Spring Boot | 应用开发框架 | 2.7.18 | 文档 |
MySQL | 数据库服务器 | 5.7 / 8.0+ | |
Druid | JDBC 连接池、监控组件 | 1.2.23 | 文档 |
MyBatis Plus | MyBatis 增强工具包 | 3.5.7 | 文档 |
Dynamic Datasource | 动态数据源 | 3.6.1 | 文档 |
Redis | key-value 数据库 | 5.0 / 6.0 /7.0 | |
Redisson | Redis 客户端 | 3.32.0 | 文档 |
Spring MVC | MVC 框架 | 5.3.24 | 文档 |
Spring Security | Spring 安全框架 | 5.7.11 | 文档 |
Hibernate Validator | 参数校验组件 | 6.2.5 | 文档 |
Flowable | 工作流引擎 | 6.8.0 | 文档 |
Quartz | 任务调度组件 | 2.3.2 | 文档 |
Springdoc | Swagger 文档 | 1.7.0 | 文档 |
SkyWalking | 分布式应用追踪系统 | 8.12.0 | 文档 |
Spring Boot Admin | Spring Boot 监控平台 | 2.7.10 | 文档 |
Jackson | JSON 工具库 | 2.13.5 | |
MapStruct | Java Bean 转换 | 1.6.2 | 文档 |
Lombok | 消除冗长的 Java 代码 | 1.18.34 | 文档 |
JUnit | Java 单元测试框架 | 5.8.2 | - |
Mockito | Java Mock 框架 | 4.8.0 | - |
🐷 演示图
系统功能
模块 | biu | biu | biu |
---|---|---|---|
登录 & 首页 | ![]() |
![]() |
![]() |
用户 & 应用 | ![]() |
![]() |
![]() |
租户 & 套餐 | ![]() |
![]() |
- |
部门 & 岗位 | ![]() |
![]() |
- |
菜单 & 角色 | ![]() |
![]() |
- |
审计日志 | ![]() |
![]() |
- |
短信 | ![]() |
![]() |
![]() |
字典 & 敏感词 | ![]() |
![]() |
![]() |
错误码 & 通知 | ![]() |
![]() |
- |
工作流程
模块 | biu | biu | biu |
---|---|---|---|
流程模型 | ![]() |
![]() |
![]() |
表单 & 分组 | ![]() |
![]() |
- |
我的流程 | ![]() |
![]() |
![]() |
待办 & 已办 | ![]() |
![]() |
![]() |
OA 请假 | ![]() |
![]() |
![]() |
基础设施
模块 | biu | biu | biu |
---|---|---|---|
代码生成 | ![]() |
![]() |
- |
文档 | ![]() |
![]() |
- |
文件 & 配置 | ![]() |
![]() |
![]() |
定时任务 | ![]() |
![]() |
- |
API 日志 | ![]() |
![]() |
- |
MySQL & Redis | ![]() |
![]() |
- |
监控平台 | ![]() |
![]() |
![]() |
支付系统
模块 | biu | biu | biu |
---|---|---|---|
商家 & 应用 | ![]() |
![]() |
![]() |
支付 & 退款 | ![]() |
![]() |
--- |
数据报表
模块 | biu | biu | biu |
---|---|---|---|
报表设计器 | ![]() |
![]() |
![]() |
大屏设计器 | ![]() |
![]() |
![]() |
移动端(管理后台)
biu | biu | biu |
---|---|---|
![]() |
![]() |
![]() |
![]() |
![]() |
![]() |
![]() |
![]() |
![]() |
目前已经实现登录、我的、工作台、编辑资料、头像修改、密码修改、常见问题、关于我们等基础功能。